全面解读java虚拟机(面试考点大全)d
学习java以来,jvm的原理已经看过好多遍了,但是许多知识点都串不起来。今天我把jvm相关知识整理了一下,看完之后肯定会对JVM非常的清楚。
JVM是虚拟机,也是一种规范,他遵循着冯·诺依曼体系结构的设计原理。冯·诺依曼体系结构中,指出计算机处理的数据和指令都是二进制数,采用存储程序方式不加区分的存储在同一个存储器里,并且顺序执行,指令由操作码和地址码组成,操作码决定了操作类型和所操作的数的数字类型,地址码则指出地址码和操作数。从dos到window8,从unix到ubuntu和CentOS,还有MAC OS等等,不同的操作系统指令集以及数据结构都有着差异,而JVM通过在操作系统上建立虚拟机,自己定义出来的一套统一的数据结构和操作指令,把同一套语言翻译给各大主流的操作系统,实现了跨平台运行,可以说JVM是java的核心,是java可以一次编译到处运行的本质所在。
我研究学习了JVM的组成和运行原理,JVM的统一数据格式规范、字节码文件结构,JVM关于内存的管理。
一、JVM的组成和运行原理 。
JVM的毕竟是个虚拟机,是一种规范,虽说符合冯诺依曼的计算机设计理念,但是他并不是实体计算机,所以他的组成也不是什么存储器,控制器,运算器,输入输出设备。在我看来,JVM运行在真实的操作系统中表现的更像应用或者说是进程,他的组成可以理解为JVM这个进程有哪些功能模块,而这些功能模块的运作可以看做是JVM的运行原理。JVM有多种实现,例如Oracle的JVM,HP的JVM和IBM的JVM等,而在本文中研究学习的则是使用最广泛的Oracle的HotSpot JVM。
1.JVM在JDK中的位置。
JDK是java开发的必备工具箱,JDK其中有一部分是JRE,JRE是JAVA运行环境,JVM则是JRE最核心的部分。我从oracle.com截取了一张关于JDK Standard Edtion的组成图,
从最底层的位置可以看出来JVM有多重要,而实际项目中JAVA应用的性能优化,OOM等异常的处理最终都得从JVM这儿来解决。HotSpot是Oracle关于JVM的商标,区别于IBM,HP等厂商开发的JVM。Java
HotSpot Client VM和Java HotSpot Server VM是JDK关于JVM的两种不同的实现,前者可以减少启动时间和内存占用,而后者则提供更加优秀的程序运行速度(参考自:http://docs.oracle.com/javase/8/docs/technotes/guides/vm/index.html
,该文档有关于各个版本的JVM的介绍)。在命令行,通过java -version可以查看关于当前机器JVM的信息,下面是我在Win8系统上执行命令的截图,
可以看出我装的是build 20.13-b02版本,HotSpot 类型Server模式的JVM。
2.JVM的组成
JVM由4大部分组成:ClassLoader,Runtime Data Area,Execution Engine,Native Interface。
我从CSDN找了一张描述JVM大致结构的图:
2.1. ClassLoader 是负责加载class文件,class文件在文件开头有特定的文件标示,并且ClassLoader只负责class文件的加载,至于它是否可以运行,则由Execution Engine决定。
2.2.Native Interface 是负责调用本地接口的。他的作用是调用不同语言的接口给JAVA用,他会在Native Method Stack中记录对应的本地方法,然后调用该方法时就通过Execution Engine加载对应的本地lib。原本多于用一些专业领域,如JAVA驱动,地图制作引擎等,现在关于这种本地方法接口的调用已经被类似于Socket通信,WebService等方式取代。
2.3.Execution Engine 是执行引擎,也叫Interpreter。Class文件被加载后,会把指令和数据信息放入内存中,Execution Engine则负责把这些命令解释给操作系统。
2.4.Runtime Data Area 则是存放数据的,分为五部分:Stack,Heap,Method Area,PC Register,Native Method Stack。几乎所有的关于java内存方面的问题,都是集中在这块。下图是javapapers.com上关于Run-time Data Areas的描述:
可以看出它把Method
Area化为了Heap的一部分,javapapers.com中认为Method Area是Heap的逻辑区域,但这取决于JVM的实现者,而HotSpot JVM中把Method Area划分为非堆内存,显然是不包含在Heap中的。下图是javacodegeeks.com中,2014年9月刊出的一片博文中关于Runtime Data Area的划分,其中指出,NonHeap包含PermGen和Code
Cache,PermGen包含Method Area,而且PermGen在JAVA SE
8中已经不再用了。查阅资料(https://abhirockzz.wordpress.com/2014/03/18/java-se-8-is-knocking-are-you-there/)得知,java8中PermGen已经从JVM中移除并被MetaSpace取代,java8中也不会见到OOM:PermGen
Space的异常。目前Runtime Data Area可以用下图描述它的组成:
2.4.1.
Stack 是java栈内存,它等价于C语言中的栈,栈的内存地址是不连续的,每个线程都拥有自己的栈。 栈里面存储着的是StackFrame,在《JVM
Specification》中文版中被译作java虚拟机框架,也叫做栈帧。StackFrame包含三类信息:局部变量,执行环境,操作数栈。局部变量用来存储一个类的方法中所用到的局部变量。执行环境用于保存解析器对于java字节码进行解释过程中需要的信息,包括:上次调用的方法、局部变量指针和操作数栈的栈顶和栈底指针。操作数栈用于存储运算所需要的操作数和结果。StackFrame在方法被调用时创建,在某个线程中,某个时间点上,只有一个框架是活跃的,该框架被称为Current
Frame,而框架中的方法被称为Current Method,其中定义的类为Current Class。局部变量和操作数栈上的操作总是引用当前框架。当Stack Frame中方法被执行完之后,或者调用别的StackFrame中的方法时,则当前栈变为另外一个StackFrame。Stack的大小是由两种类型,固定和动态的,动态类型的栈可以按照线程的需要分配。
下面两张图是关于栈之间关系以及栈和非堆内存的关系基本描述(来自 http://www.programering.com/a/MzM3QzNwATA.html ):
2.4.2. Heap 是用来存放对象信息的,和Stack不同,Stack代表着一种运行时的状态。换句话说,栈是运行时单位,解决程序该如何执行的问题,而堆是存储的单位,解决数据存储的问题。Heap是伴随着JVM的启动而创建,负责存储所有对象实例和数组的。堆的存储空间和栈一样是不需要连续的,它分为Young Generation和Old Generation(也叫Tenured Generation)两大部分。Young Generation分为Eden和Survivor,Survivor又分为From Space和 ToSpace。
和Heap经常一起提及的概念是PermanentSpace,它是用来加载类对象的专门的内存区,是非堆内存,和Heap一起组成JAVA内存,它包含MethodArea区(在没有Code Cache的HotSpotJVM实现里,则MethodArea就相当于GenerationSpace)。 在JVM初始化的时候,我们可以通过参数来分别指定,PermanentSpace的大小、堆的大小、以及Young Generation和Old Generation的比值、Eden区和From Space的比值,从而来细粒度的适应不同JAVA应用的内存需求。
2.4.3. PC Register 是程序计数寄存器,每个JAVA线程都有一个单独的PC Register,他是一个指针,由Execution Engine读取下一条指令。如果该线程正在执行java方法,则PC Register存储的是 正在被执行的指令的地址,如果是本地方法,PC Register的值没有定义。PC寄存器非常小,只占用一个字宽,可以持有一个returnAdress或者特定平台的一个指针。
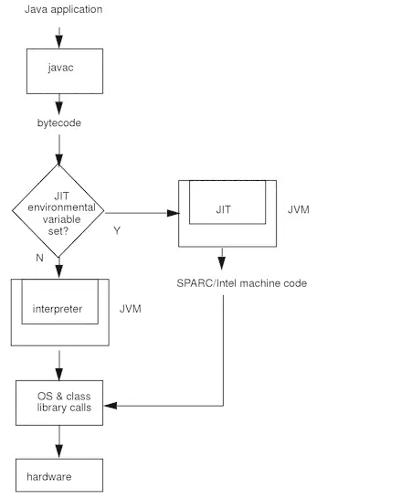
2.4.4. Method Area 在HotSpot JVM的实现中属于非堆区,非堆区包括两部分:Permanet Generation和Code Cache,而Method Area属于Permanert Generation的一部分。Permanent Generation用来存储类信息,比如说:class definitions,structures,methods, field, method (data and code) 和 constants。Code Cache用来存储Compiled Code,即编译好的本地代码,在HotSpot JVM中通过JIT(Just In Time) Compiler生成,JIT是即时编译器,他是为了提高指令的执行效率,把字节码文件编译成本地机器代码,如下图:
引用一个经典的案例来理解Stack,Heap和Method Area的划分,就是Sring a="xx";Stirng b="xx",问是否a==b? 首先==符号是用来判断两个对象的引用地址是否相同,而在上面的题目中,a和b按理来说申请的是Stack中不同的地址,但是他们指向Method Area中Runtime Constant Pool的同一个地址,按照网上的解释,在a赋值为“xx”时,会在Runtime Contant Pool中生成一个String Constant,当b也赋值为“xx”时,那么会在常量池中查看是否存在值为“xx”的常量,存在的话,则把b的指针也指向“xx”的地址,而不是新生成一个String Constant。我查阅了网络上大家关于String Constant的存储的说说法,存在略微差别的是,它存储在哪里,有人说Heap中会分配出一个常量池,用来存储常量,所有线程共享它。而有人说常量池是Method Area的一部分,而Method Area属于非堆内存,那怎么能说常量池存在于堆中?
我认为,其实两种理解都没错。Method Area的确从逻辑上讲可以是Heap的一部分,在某些JVM实现里从堆上开辟一块存储空间来记录常量是符合JVM常量池设计目的的,所以前一种说法没问题。对于后一种说法,HotSpot JVM的实现中的确是把方法区划分为了非堆内存,意思就是它不在堆上。我在HotSpot JVM做了个简单的实验,定义多个常量之后,程序抛出OOM:PermGen Space异常,印证了JVM实现中常量池是在Permanent Space中的说法。但是,我的JDK版本是1.6的。查阅资料,JDK1.7中InternedStrings已经不再存储在PermanentSpace中,而是放到了Heap中;JDK8中PermanentSpace已经被完全移除,InternedStrings也被放到了MetaSpace中(如果出现内存溢出,会报OOM:MetaSpace,这里有个关于两者性能对比的文章: 。 所以,仁者见仁,智者见智,一个馒头足以引发血案,就算是同一个商家的JVM,毕竟JDK版本在更新,或许正如StackOverFlow上大神们所说,对于理解JVM Runtime Data Area这一部分的划分逻辑,还是去看对应版本的JDK源码比较靠谱,或者是参考不同的版本JVM Specification。
2.4.5. Native Method Stack 是供本地方法(非java)使用的栈。每个线程持有一个Native Method Stack。
3.JVM的运行原理简介
Java 程序被javac工具编译为.class字节码文件之后,我们执行java命令,该class文件便被JVM的Class Loader加载,可以看出JVM的启动是通过JAVA Path下的java.exe或者java进行的。JVM的初始化、运行到结束大概包括这么几步:
调用操作系统API判断系统的CPU架构,根据对应CPU类型寻找位于JRE目录下的/lib/jvm.cfg文件,然后通过该配置文件找到对应的jvm.dll文件(如果我们参数中有-server或者-client, 则加载对应参数所指定的jvm.dll,启动指定类型的JVM),初始化jvm.dll并且挂接到JNIENV结构的实例上,之后就可以通过JNIENV实例装载并且处理class文件了。class文件是字节码文件,它按照JVM的规范,定义了变量,方法等的详细信息,JVM管理并且分配对应的内存来执行程序,同时管理垃圾回收。直到程序结束,一种情况是JVM的所有非守护线程停止,一种情况是程序调用System.exit(),JVM的生命周期也结束。
关于JVM如何管理分配内存,我通过class文件和垃圾回收两部分进行了学习。
二、JVM的内存管理和垃圾回收
JVM中的内存管理主要是指JVM对于Heap的管理,这是因为Stack,PC Register和Native Method Stack都是和线程一样的生命周期,在线程结束时自然可以被再次使用。虽然说,Stack的管理不是重点,但是也不是完全不讲究的。
1.栈的管理
JVM允许栈的大小是固定的或者是动态变化的。在Oracle的关于参数设置的官方文档中有关于Stack的设置(http://docs.oracle.com/cd/E13150_01/jrockit_jvm/jrockit/jrdocs/refman/optionX.html#wp1024112),是通过-Xss来设置其大小。关于Stack的默认大小对于不同机器有不同的大小,并且不同厂商或者版本号的jvm的实现其大小也不同,如下表是HotSpot的默认大小:
| Platform | Default |
|---|---|
| Windows IA32 | 64 KB |
| Linux IA32 | 128 KB |
| Windows x86_64 | 128 KB |
| Linux x86_64 | 256 KB |
| Windows IA64 | 320 KB |
| Linux IA64 | 1024 KB (1 MB) |
| Solaris Sparc | 512 KB |
我们一般通过减少常量,参数的个数来减少栈的增长,在程序设计时,我们把一些常量定义到一个对象中,然后来引用他们可以体现这一点。另外,少用递归调用也可以减少栈的占用。
栈是不需要垃圾回收的,尽管说垃圾回收是java内存管理的一个很热的话题,栈中的对象如果用垃圾回收的观点来看,他永远是live状态,是可以reachable的,所以也不需要回收,他占有的空间随着Thread的结束而释放。(参考自:http://stackoverflow.com/questions/20030120/java-default-stack-size)
关于栈一般会发生以下两种异常:
1.当线程中的计算所需要的栈超过所允许大小时,会抛出StackOverflowError。
2.当Java栈试图扩展时,没有足够的存储器来实现扩展,JVM会报OutOfMemoryError。
我针对栈进行了实验,由于递归的调用可以致使栈的引用增加,导致溢出,所以设计代码如下:
我的机器是x86_64系统,所以Stack的默认大小是128KB,上述程序在运行时会报错:
而当我在eclipse中调整了-Xss参数到3M之后,该异常消失
另外栈上有一点得注意的是,对于本地代码调用,可能会在栈中申请内存,比如C调用malloc(),而这种情况下,GC是管不着的,需要我们在程序中,手动管理栈内存,使用free()方法释放内存。
2.堆的管理
堆的管理要比栈管理复杂的多,我通过堆的各部分的作用、设置,以及各部分可能发生的异常,以及如何避免各部分异常进行了学习。
上图是 Heap和PermanentSapce的组合图,其中 Eden区里面存着是新生的对象,From Space和To Space中存放着是每次垃圾回收后存活下来的对象 ,所以每次垃圾回收后,Eden区会被清空。 存活下来的对象先是放到From Space,当From Space满了之后移动到To Space。当To Space满了之后移动到Old Space。Survivor的两个区是对称的,没先后关系,所以同一个区中可能同时存在从Eden复制过来 对象,和从前一个Survivor复制过来的对象,而复制到年老区的只有从第一个Survivor复制过来的对象。而且,Survivor区总有一个是空的。同时,根据程序需要,Survivor区是可以配置为多个的(多于两个),这样可以增加对象在年轻代中的存在时间,减少被放到年老代的可能。
Old Space中则存放生命周期比较长的对象,而且有些比较大的新生对象也放在Old Space中。
堆的大小通过-Xms和-Xmx来指定最小值和最大值,通过-Xmn来指定Young Generation的大小(一些老版本也用-XX:NewSize指定), 即上图中的Eden加FromSpace和ToSpace的总大小。然后通过-XX:NewRatio来指定Eden区的大小,在Xms和Xmx相等的情况下,该参数不需要设置。通过-XX:SurvivorRatio来设置Eden和一个Survivor区的比值。(参考自博文:)
堆异常分为两种,一种是Out of Memory(OOM),一种是Memory Leak(ML)。Memory Leak最终将导致OOM。实际应用中表现为:从Console看,内存监控曲线一直在顶部,程序响应慢,从线程看,大部分的线程在进行GC,占用比较多的CPU,最终程序异常终止,报OOM。OOM发生的时间不定,有短的一个小时,有长的10天一个月的。关于异常的处理,确定OOM/ML异常后,一定要注意保护现场,可以dump heap,如果没有现场则开启GCFlag收集垃圾回收日志,然后进行分析,确定问题所在。如果问题不是ML的话,一般通过增加Heap,增加物理内存来解决问题,是的话,就修改程序逻辑。
3.垃圾回收
JVM中会在以下情况触发回收:对象没有被引用,作用域发生未捕捉异常,程序正常执行完毕,程序执行了System.exit(),程序发生意外终止。
JVM中标记垃圾使用的算法是一种根搜索算法。简单的说,就是从一个叫GC Roots的对象开始(GC ROOT节点主要在全局性的引用(例如常量或静态属性)与执行上下文(例如栈帧中的本地变量表)中),向下搜索,如果一个对象不能达到GC Roots对象的时候,说明它可以被回收了。这种算法比一种叫做引用计数法的垃圾标记算法要好,因为它避免了当两个对象啊互相引用时无法被回收的现象。
注意:1. 如果在节点搜索中从ROOT不能到达这个对象,并不是一定会被回收,因为JVM给了这些对象第二次机会,这些对象会被第一次标记(“缓刑”)并且会进行一次筛选,筛选条件就是此对象是否有必要执行finalize()方法,(当对象覆盖finalized方法或者已经被执行过一次,都视为没必要执行finalize),通过筛选的对象放入F-Queue队列,低优先级的finalize线程会执行这个方法,这里的“执行”是说虚拟机会触发这个方法,但并不承诺会等到这个方法执行完成,因为finalize方法中可能有死循环,如果在这次执行中,能将自己拯救(将自身(this)与引用链上的任何一个对象关联即可(比如吧自己的this赋值给某个类变量或者成员变量)),那么JVM在进行第二次标记的时候就会将他移除即将回收的集合。
2. Elden没有足够的内存时会MInor GC,可以通过 -XX:PreteureSizeThreshold参数设置当对象 >=这个值时,会直接放入老年代。
JVM中对于被标记为垃圾的对象进行回收时又分为了一下3种算法:
1.标记清除算法,该算法是从根集合扫描整个空间,标记存活的对象,然后在扫描整个空间对没有被标记的对象进行回收,这种算法在存活对象较多时比较高效,但会产生内存碎片。
2.复制算法,该算法是从根集合扫描,并将存活的对象复制到新的空间,这种算法在存活对象少时比较高效。(适合新生代每次生存的对象很少)
3.标记整理算法,标记整理算法和标记清除算法一样都会扫描并标记存活对象,在回收未标记对象的同时会整理被标记的对象,解决了内存碎片的问题,(适合老年代:没有过多内存)。
4.分代收集。
JVM中,不同的 内存区域作用和性质不一样,使用的垃圾回收算法也不一样,所以JVM中又定义了几种不同的垃圾回收器(图中连线代表两个回收器可以同时使用):
1.Serial GC。从名字上看,串行GC意味着是一种单线程的,所以它要求收集的时候所有的线程暂停。这对于高性能的应用是不合理的,所以串行GC一般用于Client模式的JVM中。
2.ParNew GC。是在SerialGC的基础上,增加了多线程机制。但是如果机器是单CPU的,这种收集器是比SerialGC效率低的。
3.Parrallel Scavenge GC。这种收集器又叫吞吐量优先收集器,而吞吐量=程序运行时间/(JVM执行回收的时间+程序运行时间),假设程序运行了100分钟,JVM的垃圾回收占用1分钟,那么吞吐量就是99%。Parallel Scavenge GC由于可以提供比较不错的吞吐量,所以被作为了server模式JVM的默认配置。
4.ParallelOld是老生代并行收集器的一种,使用了标记整理算法,是JDK1.6中引进的,在之前老生代只能使用串行回收收集器。
5.Serial Old是老生代client模式下的默认收集器,单线程执行,同时也作为CMS收集器失败后的备用收集器。
6.CMS又称响应时间优先回收器,使用标记清除算法。他的回收线程数为(CPU核心数+3)/4,所以当CPU核心数为2时比较高效些。CMS分为4个过程:初始标记、并发标记、重新标记、并发清除。
7.GarbageFirst(G1)。比较特殊的是G1回收器既可以回收Young Generation,也可以回收Tenured Generation。它是在JDK6的某个版本中才引入的,性能比较高,同时注意了吞吐量和响应时间。
对于垃圾收集器的组合使用可以通过下表中的参数指定:
默认的GC种类可以通过jvm.cfg或者通过jmap dump出heap来查看,一般我们通过jstat -gcutil [pid] 1000可以查看每秒gc的大体情况,或者可以在启动参数中加入:-verbose:gc -XX:+PrintGCTimeStamps -XX:+PrintGCDetails -Xloggc:./gc.log来记录GC日志。
GC中有一种情况叫做Full GC,以下几种情况会触发Full GC:
1.Tenured Space空间不足以创建打的对象或者数组,会执行FullGC,并且当FullGC之后空间如果还不够,那么会OOM:java heap space。
2.Permanet Generation的大小不足,存放了太多的类信息,在非CMS情况下回触发FullGC。如果之后空间还不够,会OOM:PermGen space。
3.CMS GC时出现promotion failed和concurrent mode failure时,也会触发FullGC。promotion failed是在进行Minor GC时,survivor space放不下、对象只能放入旧生代,而此时旧生代也放不下造成的;concurrent mode failure是在执行CMS GC的过程中同时有对象要放入旧生代,而此时旧生代空间不足造成的。
4.判断MinorGC后,要晋升到TenuredSpace的对象大小大于TenuredSpace的大小,也会触发FullGC。
可以看出,当FullGC频繁发生时,一定是内存出问题了。
三、JVM的数据格式规范和Class文件
1.数据类型规范
依据冯诺依曼的计算机理论,计算机最后处理的都是二进制的数,而JVM是怎么把java文件最后转化成了各个平台都可以识别的二进制呢?JVM自己定义了一个抽象的存储数据单位,叫做Word。一个字足够大以持有byte、char、short、int、float、reference或者returnAdress的一个值,两个字则足够持有更大的类型long、double。它通常是主机平台一个指针的大小,如32位的平台上,字是32位。
同时JVM中定义了它所支持的基本数据类型,包括两部分:数值类型和returnAddress类型。数值类型分为整形和浮点型。
整形:
| byte | 值是8位的有符号二进制补码整数 |
| short |
值是16位的有符号二进制补码整数 |
| int |
值是32位的有符号二进制补码整数 |
| long |
值是64位的有符号二进制补码整数 |
| char |
值是表示Unicode字符的16位无符号整数 ,注意Java中 是Unicode字符,占两个字节 ,ASCii占8位但是他没有中文字符 |
浮点:
| float | 值是32位IEEE754浮点数 |
| double | 值是64位IEEE754浮点数 |
returnAddress类型的值是Java虚拟机指令的操作码的指针。
对比java的基本数据类型,jvm的规范中没有boolean类型。这是因为jvm中对boolean的操作是通过int类型来进行处理的,而boolean数组则是通过byte数组来进行处理。
至于String,我们知道它存储在常量池中,但他不是基本数据类型,之所以可以存在常量池中,是因为这是JVM的一种规定。如果查看String源码,我们就会发现,String其实就是一个基于基本数据类型char的数组。如图:
2.字节码文件
通过字节码文件的格式我们可以看出jvm是如何规范数据类型的。下面是ClassFile的结构:
关于各个字段的定义(参考自JVM Specification 和 博文:http://www.cnblogs.com/zhuYears/archive/2012/02/07/2340347.html),
magic:
魔数,魔数的唯一作用是确定这个文件是否为一个能被虚拟机所接受的Class文件。魔数值固定为0xCAFEBABE,不会改变。
minor_version、major_version:
分别为Class文件的副版本和主版本。它们共同构成了Class文件的格式版本号。不同版本的虚拟机实现支持的Class文件版本号也相应不同,高版本号的虚拟机可以支持低版本的Class文件,反之则不成立。
constant_pool_count:
常量池计数器,constant_pool_count的值等于constant_pool表中的成员数加1。
